Mazda CX-7: Clés (avec clé de type escamotable)PRUDENCE
Ne pas laisser la clé dans le véhicule si des enfants s'y trouvent, et les garder dans un endroit où les enfants ne les trouveront pas et ne joueront pas avec:
Le fait de laisser des enfants dans le véhicule avec la clé est dangereux.
Cela pourrait entraîner des blessures ou la mort de quelqu'un. Les enfants peuvent considérer ces nouvelles clés comme un jouet intéressant et peuvent activer les lève-vitres électriques et d'autres commandes, voire même mettre le véhicule en mouvement.
REMARQUE
Les clés opèrent toutes les serrures.

Un numéro de code est gravé sur la plaque attachée au jeu de clés; détacher cette plaque et la conserver dans un endroit sûr (mais pas dans le véhicule) ce numéro sera nécessaire si l'on doit remplacer une des clés.
REMARQUE
Si une clé est perdue, s'adresser à un concessionnaire agréé Mazda en s'assurant d'avoir le code de la clé avec soi.
Utiliser alors le porte-clés fourni avec la télécommande et sur lequel la plaque de numéro de code de la clé est fixée.

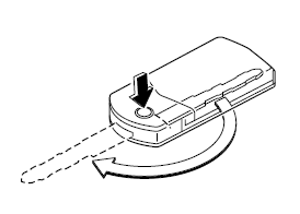
Méthode d'extension/escamotage de la clé (Clé de type escamotable)
Pour faire sortir la clé, appuyer sur le bouton de déverrouillage.

Pour escamoter la clé, la tourner dans le support tout en appuyant sur le bouton de déverrouillage.

Système d'ouverture à télécommandeCommandes vocales
Vous pouvez vous servir de commandes vocales
pour appeler diverses fonctions de votre système
téléphonique mains libres Bluetooth au moyen
du système de reconnaissance vocale NISSAN.
Pour obtenir de plus amples renseignements,
consultez la section " Système ...
Enregistreurs de données d'événement
Ce véhicule est équipé d'un enregistreur de
données d'événement. L'objectif principal d'un
enregistreur de données d'événement consiste à
enregistrer, lors de certaines collisions ou de
quasi-collisions, telles que le dé ...
Positions du commutateur d'allumage
LOCK (antivol-verrouillé) : position de stationnement
normale (0)
OFF (hors fonction) : inutilisée (1)
Dans cette position, les accessoires, comme la
radio, peuvent être activés même si le moteur ne
tourne pas.
ON (marche) : position de fonctionnement normale
...