Nissan X-Trail: Compartiment moteur

MISE
EN GARDE N'utilisez jamais un fusible d'une intensité nominale supérieure ou inférieure à celle spécifiée sur le couvercle de la boîte à fusibles. Ceci pourrait endommager le circuit électrique ou causer un incendie. |
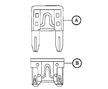
Votre véhicule utilise deux types de fusibles. Les boîtes à fusibles du compartiment moteur utilisent des fusibles de type A . La boîte à fusibles de l'habitacle utilise des fusibles de type B .
Des fusibles de rechange de type A sont fournis d'origine. Ils se trouvent dans la boîte à fusibles de l'habitacle.
Les fusibles de type A peuvent être utilisés dans les boîtes à fusibles du compartiment moteur et de l'habitacle.

Lorsqu'un fusible de type A est utilisé en remplacement d'un fusible de type B , il ne sera pas logé aussi profondément que ceux de type A (voir l'illustration). Ce fusible assurera la protection du circuit de même manière. Vérifiez que le fusible est bien enfoncé dans la boîte à fusibles.
Les fusibles de type B ne conviennent pas pour les boîtes à fusibles du compartiment moteur.
Utilisez exclusivement des fusibles de type A dans les boîtes à fusibles du compartiment moteur.
Fils fusibles
Si des accessoires électriques de votre véhicule ne fonctionnent pas alors que les fusibles correspondants sont en bon état, vérifiez les fils fusibles.
Si un des fils fusibles a fondu, remplacez-le par un fil fusible d'origine NISSAN.
Fusibles
HabitacleVidange du liquide de refroidissement
Vous pouvez faire appel à un concessionnaire
NISSAN pour procéder à la vidange du liquide de
refroidissement du moteur de votre véhicule.
Cette procédure d'entretien est décrite dans le
manuel de réparation NISSAN.
Des procédures d'ent ...
Boîte de vitesses automatique ou transmission à variation continue
Suivant véhicule, vous disposez soit
d'une boîte de vitesses automatique,
soit d'une boîte de vitesses à variation
continue.
Levier de sélection 2
L'afficheur A au tableau de bord vous
informe du mode et du rapport engagé.
3 : P : parking
4 : R : m ...
Commande d'aide au démarrage en pente (HAC)
Quand il part d'une position d'arrêt
dans une pente prononcée, un
véhicule a tendance à reculer. La
commande d'aide au démarrage en
pente (HAC) empêche le véhicule de
reculer ainsi en engageant
automatiquement les freins pendant
1,5 secondes. Les ...