Nissan X-Trail: Habitacle
MISE
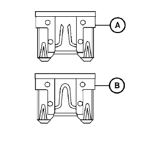
EN GARDE N'utilisez jamais un fusible d'une intensité nominale supérieure ou inférieure à celle spécifiée sur le couvercle de la boîte à fusibles. Ceci pourrait endommager le circuit électrique ou causer un incendie. |
Lorsqu'un des accessoires électriques de votre véhicule ne fonctionne pas, vérifiez si le fusible correspondant est grillé.
NOTA : La boîte à fusibles est située dans le tableau de bord, du côté conducteur.

Si le fusible neuf grille aussi, rendez-vous chez un concessionnaire NISSAN pour faire vérifier et réparer le circuit électrique de votre véhicule.
Commutateur d'entreposage prolongé

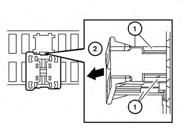
Si un des accessoires électriques ne fonctionne pas, retirez le commutateur d'entreposage prolongé et vérifiez si le fusible est grillé.
NOTA : Le commutateur d'entreposage prolongé est utilisé pour l'entreposage à long terme du véhicule. Même si le commutateur d'entreposage prolongé est brisé, il n'est pas nécessaire de le remplacer. Remplacez seulement le fusible grillé dans le commutateur par un fusible neuf. Remplacement du commutateur d'entreposage prolongé :
Compartiment moteur
Remplacement des pilesDiffusion audio Bluetooth sans système
de navigation (selon l'équipement)
Si vous possédez un appareil audio Bluetooth
compatible qui peut lire des fichiers audio, l'appareil
peut être raccordé au système audio du
véhicule pour que les fichiers audio qui se trouvent
sur l'appareil soient entendus par les hautparleurs
du véhicu ...
Fonctions de personnalisation
Les "Fonctions de personnalisation" suivantes sont disponibles. Ces réglages
ne peuvent être modifiés que par un
concessionnaire agréé Mazda.
*1 Lorsque le verrouillage automatique fonctionne, l'avertisseur sonore
retentit quelque soit le réglage.
...
Crevaison, Roue de secours
Roue de secours 6
Elle est placée dans le coffre. Pour y
accéder :
Ouvrez le coffre, soulevez le tapis
de sol 1, attachez la sangle 3 au crochet
2 puis retirez le couvercle 4 ;
dévissez la fixation 5 dans le sens
inverse des aiguilles d'une montre et
...